Product Guide
Vibration Pad 48/56 Frame |
|
Vibration Strips 48/56 Frame |
|
Air Lock Relief Fitting 48/56 Frame |
|
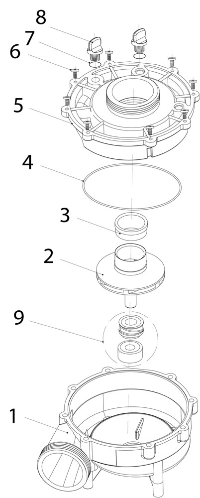
Replacement Parts 56 Frame |
|








